
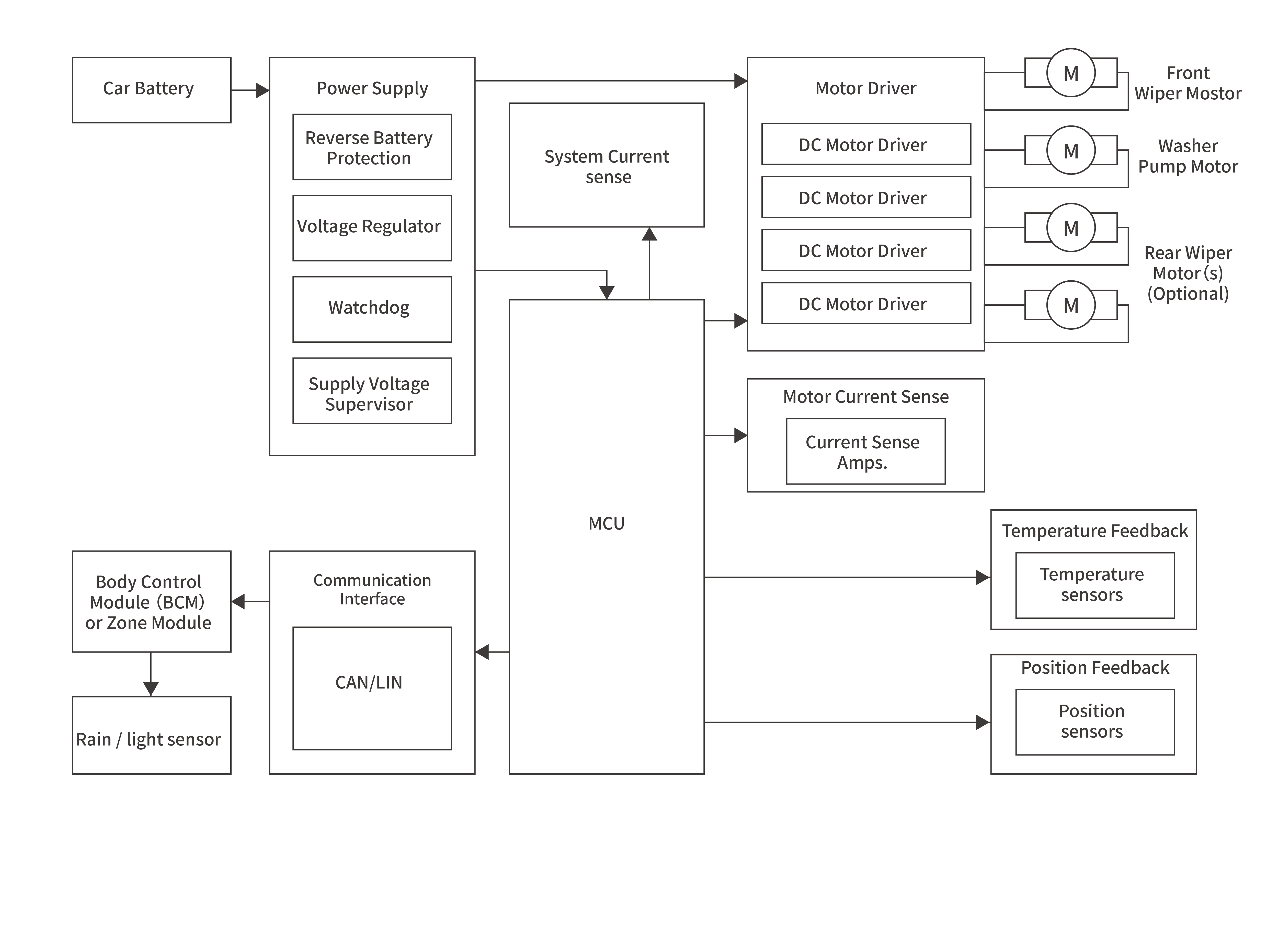
The windshield wiper system is directly related to driving visibility safety in extreme weather conditions. Addressing the high load and inductive characteristics of wiper motors, we offer enhanced overcurrent and overvoltage protection. By integrating a self-resetting fuse (PPTC) and a high-performance protective tube, we effectively mitigate the risk of motor burnout due to obstruction of the wiper by foreign objects or circuit fluctuations, ensuring reliable system operation in all weather conditions.