
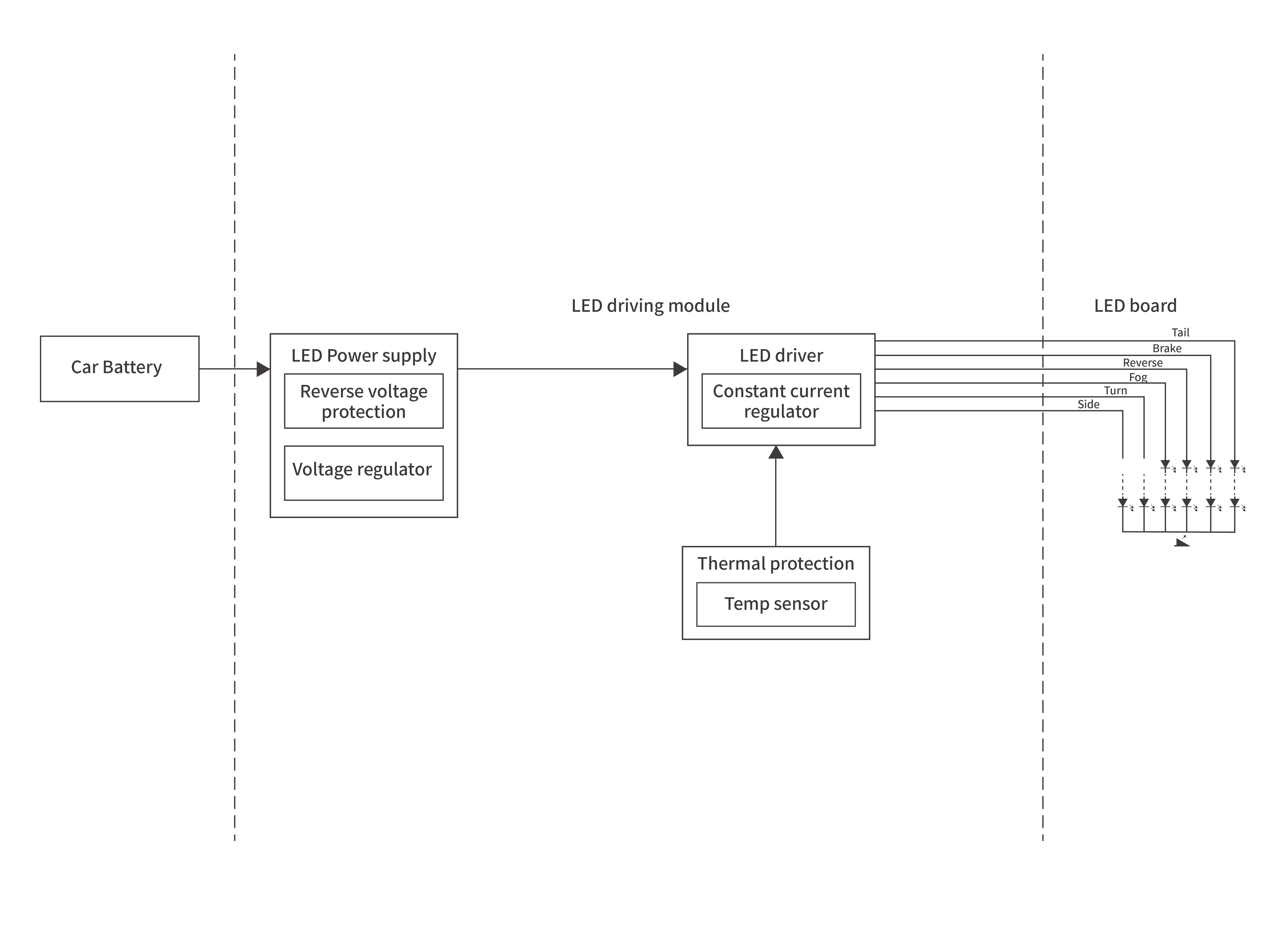
Taillights are crucial for vehicle position indication and braking warning. For the outdoor working environment of taillight modules, we offer a high standard of corrosion resistance and surge protection design. Our solution ensures that the taillights maintain high responsiveness even during frequent braking or power grid fluctuations, providing clear and reliable safety warning signals to following vehicles.