
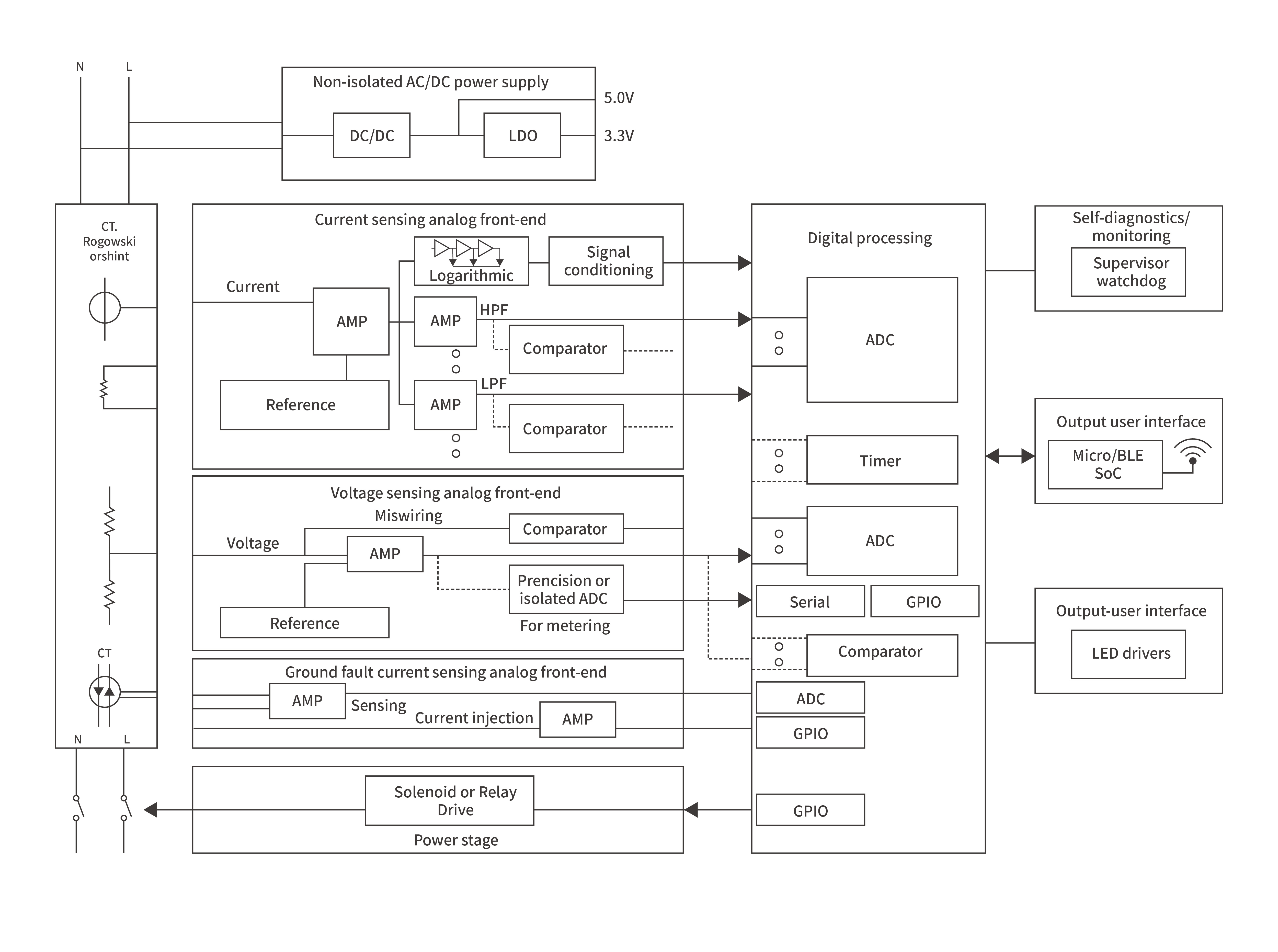
The DFCI circuit breaker integrates dual detection functions for arc fault (AFCI) and ground current protection (GFCI), representing an advanced protection solution for modern electrical safety. Addressing its complex signal processing requirements, our wideband interference suppression and high-sensitivity sampling protection technologies ensure that the system accurately distinguishes between fault arcs and normal operating noise under complex load environments. This solution improves the accuracy of ground current protection while effectively preventing false tripping, building a comprehensive safety barrier for the terminal circuit.