
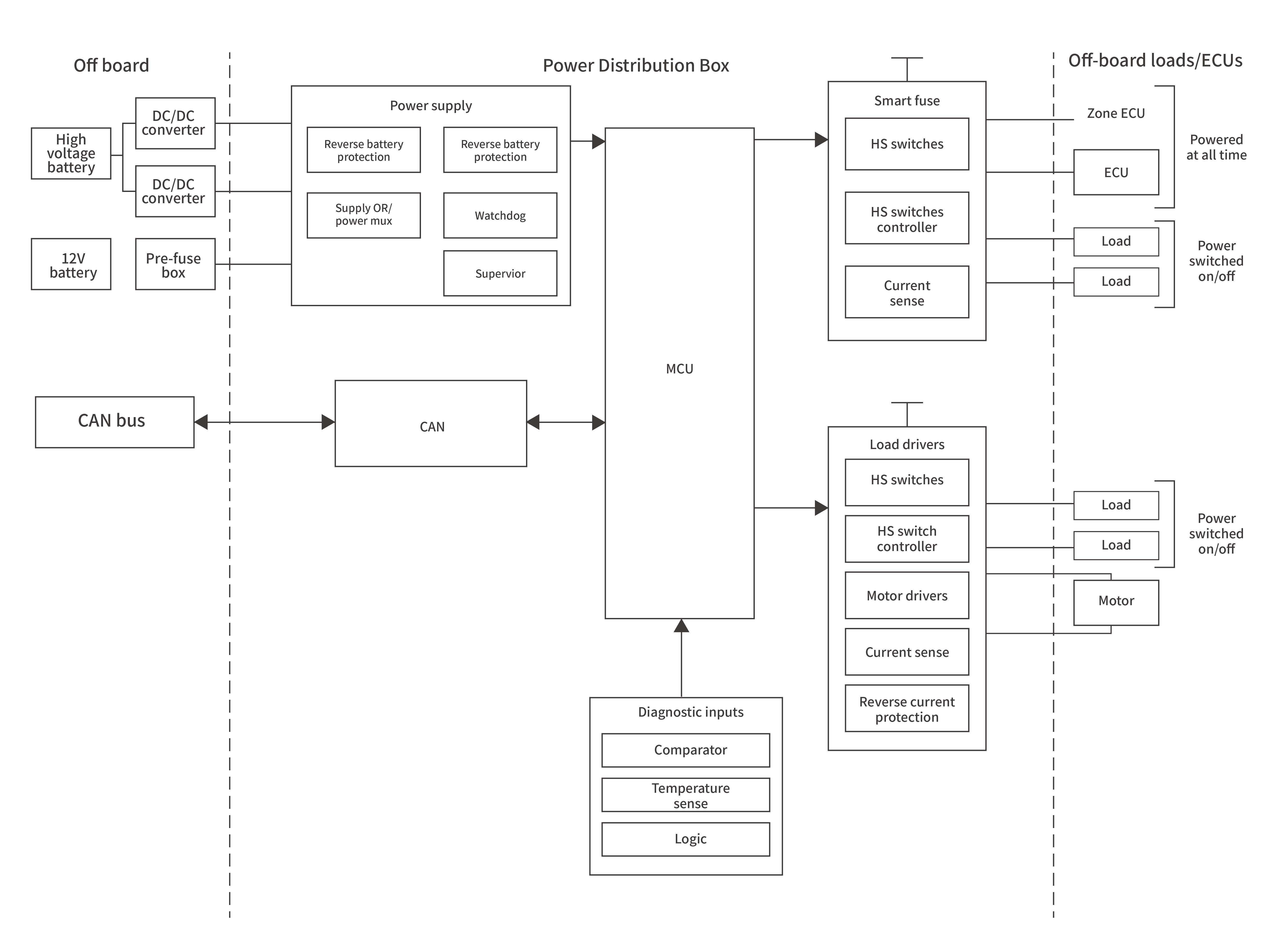
The power distribution box is the "traffic commander" for the entire vehicle's power distribution. For 12V/48V dual-voltage systems, we provide automotive-grade protection solutions (such as MOV and TVS). In addition, our devices can efficiently handle transient impacts caused by bus load switching, ensuring smooth power distribution and absolute isolation between low-voltage and medium-voltage loads.