
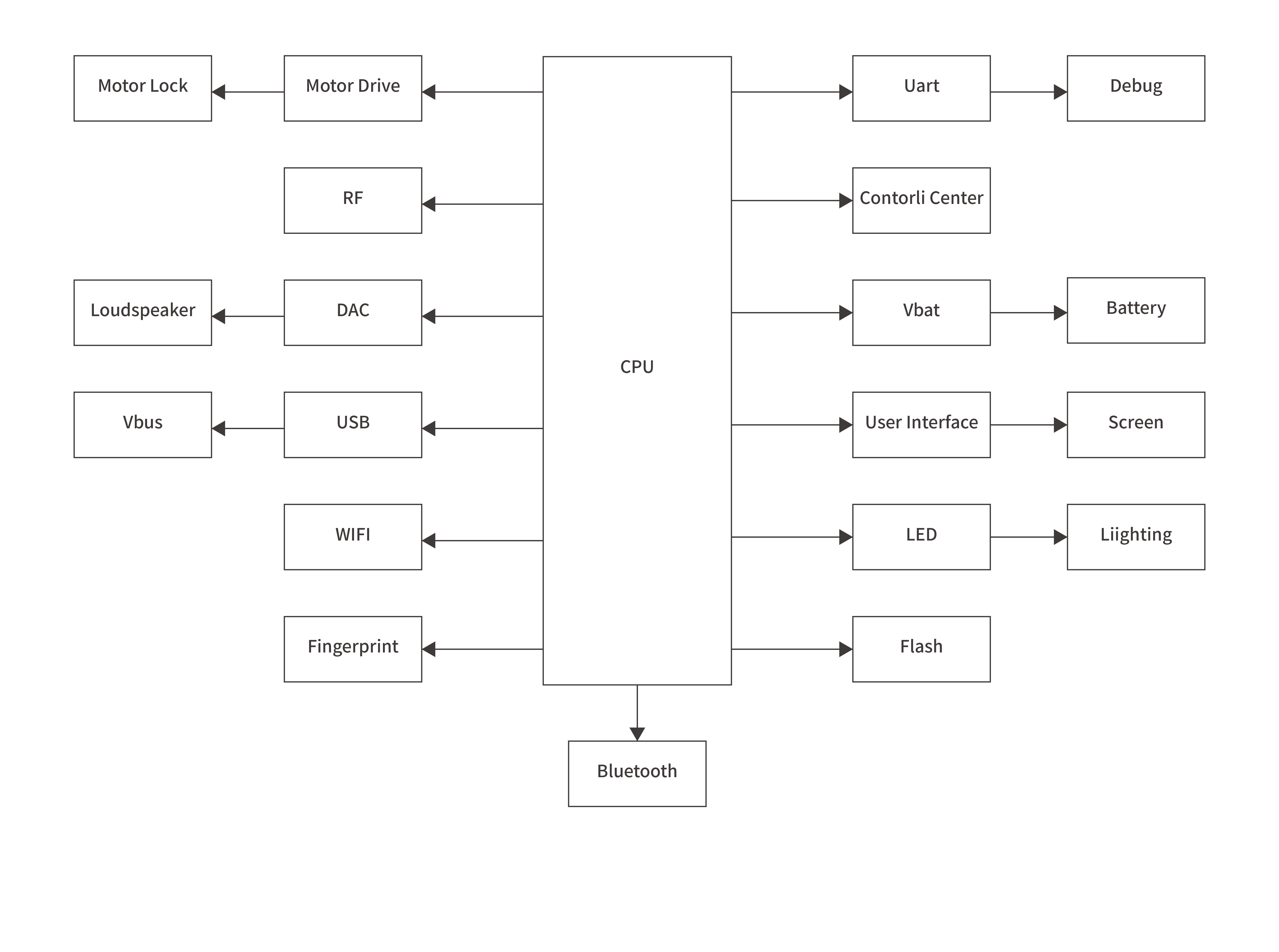
As the first line of defense for home security, smart locks must maintain absolute reliability in complex external environments. Addressing the vulnerability of fingerprint sensors and touch panels to electrostatic discharge (ESD) shocks and the reverse current surges to the main control circuit caused by the clutch motor's momentary movement, we offer industrial-grade ESD protection and high-efficiency drive protection solutions. These solutions maintain extremely low standby power consumption (nA level) while effectively isolating external electrical noise interference, ensuring accurate biometric recognition and smooth mechanical movements in dry, humid, or strong electromagnetic interference environments, providing all-weather hardware-level protection for smart security.