
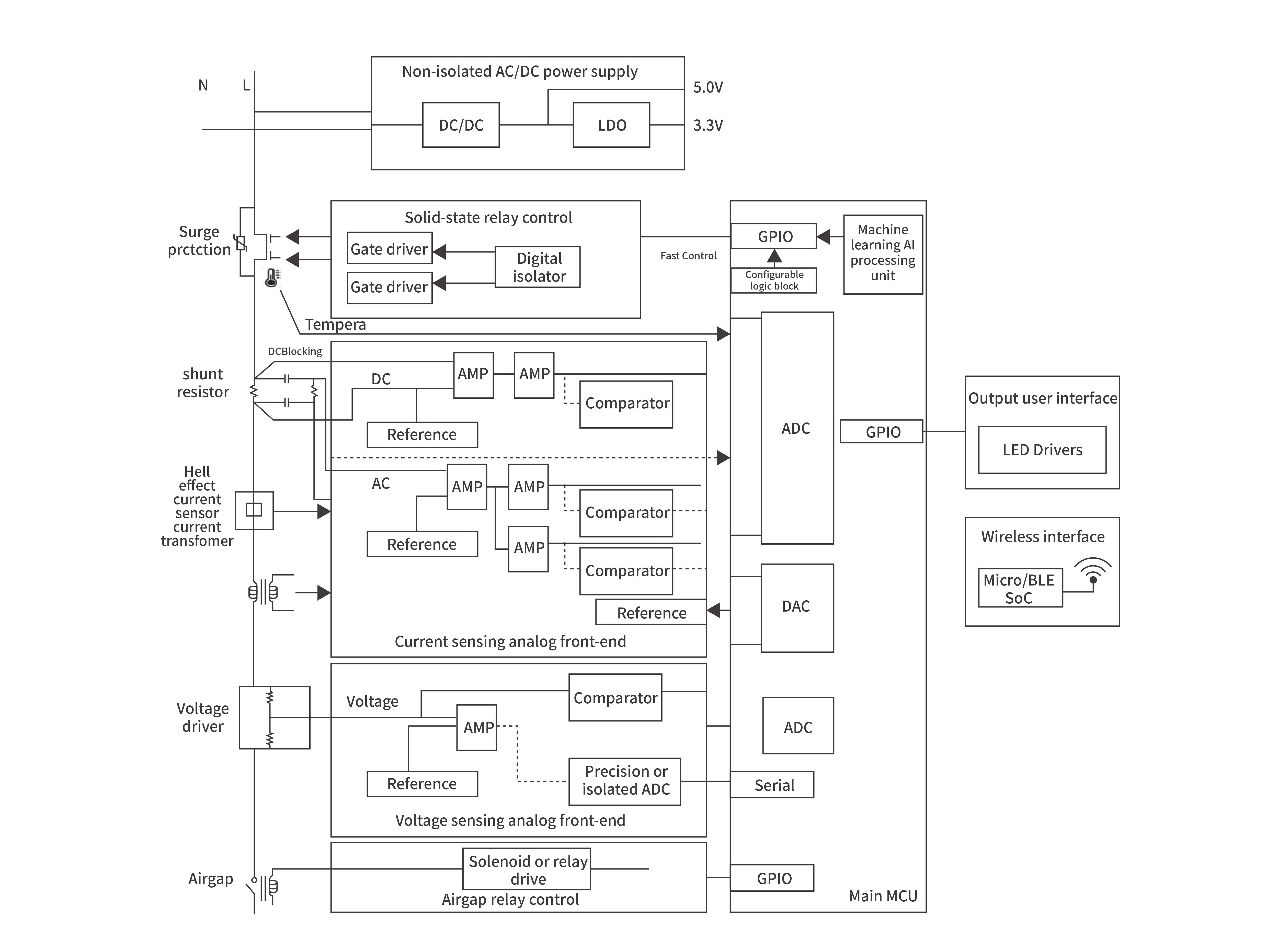
Solid-state circuit breakers (SSCBs) utilize power semiconductors to achieve contactless switching, representing the future of circuit protection technology. Compared to traditional mechanical circuit breakers, SSCBs offer microsecond-level turn-off speeds. We provide ultra-fast overvoltage clamping and refined thermal management protection solutions for their highly integrated architecture. These key components effectively absorb inductive load energy during turn-off, ensuring that power modules (such as SiC/IGBTs) are protected from transient voltage surges, contributing to the achievement of modern power protection with zero arcing, long lifespan, and extremely fast response.