
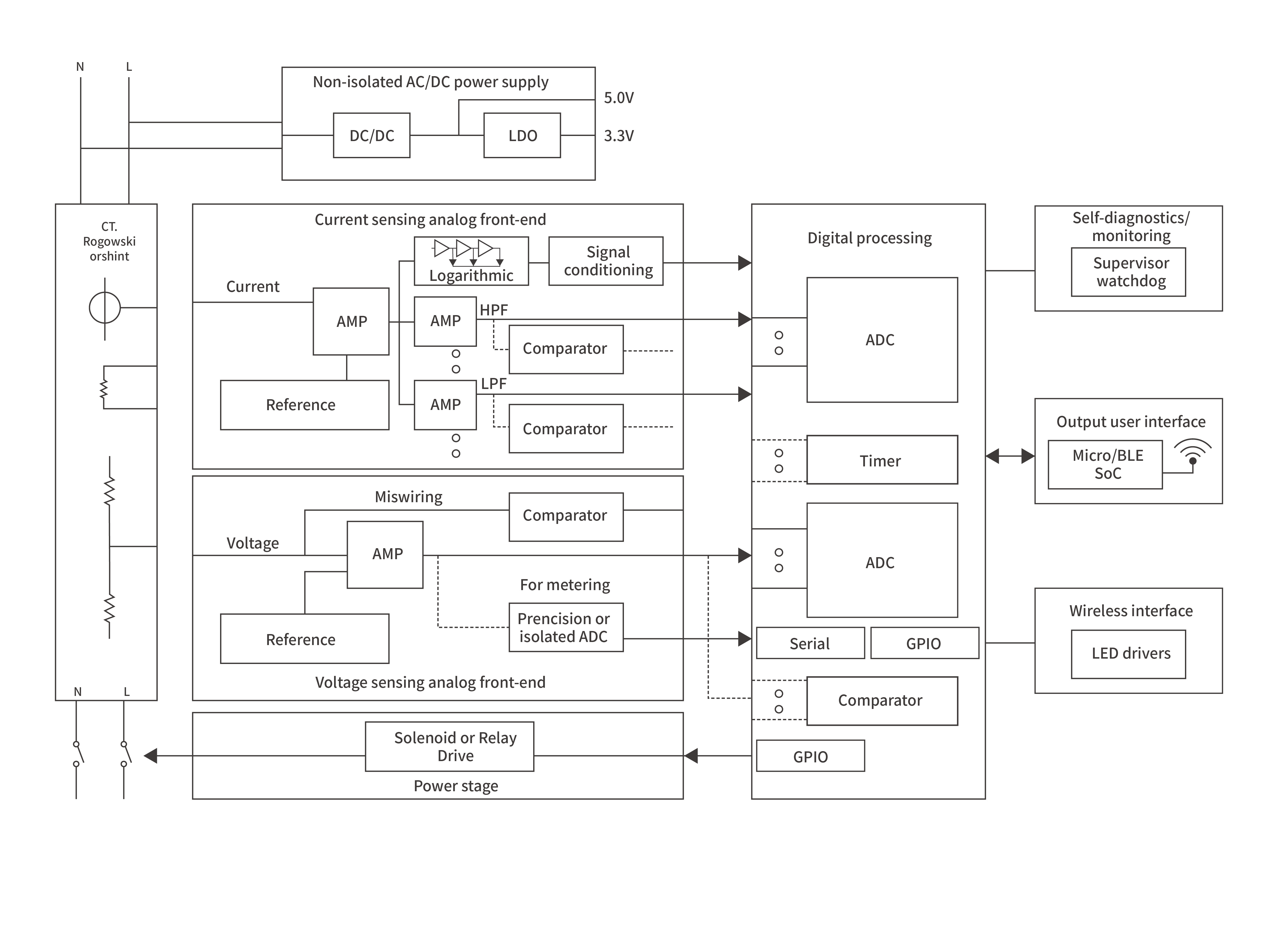
AFCI (Automatic Arc Control System) is a critical safety barrier for preventing electrical fires. Addressing its requirement to identify weak arc characteristics, we offer highly sensitive front-end signal protection and low-noise drive solutions. This ensures that components assist circuit breakers in accurately detecting abnormal arcs and rapidly disconnecting the circuit within milliseconds, effectively preventing fire risks caused by aging, damaged, or poorly connected wiring, and ensuring ultimate safety for the terminal power distribution system.