
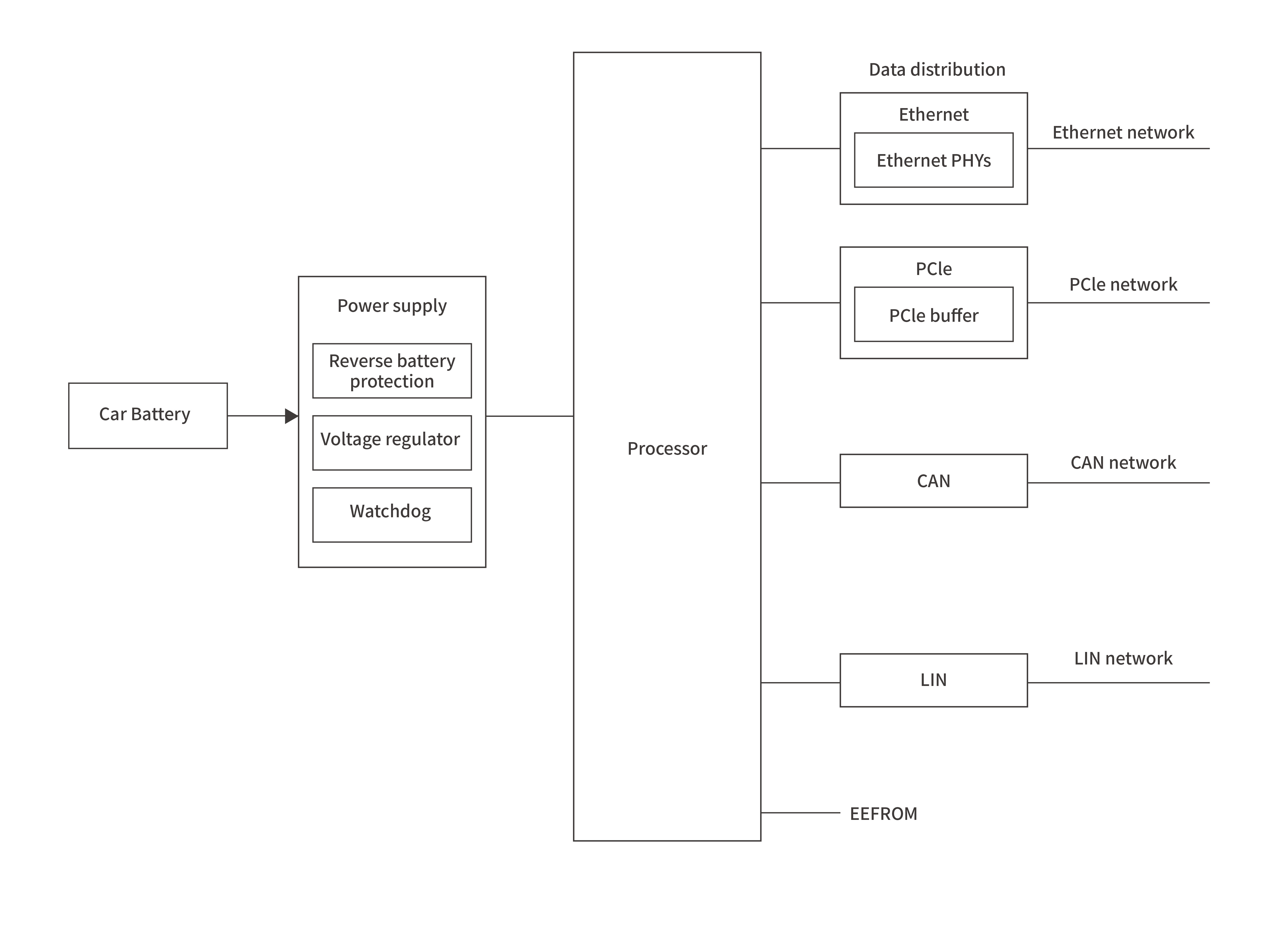
Domain gateways serve as high-speed hubs for in-vehicle data exchange. For CAN, LIN, and automotive Ethernet interfaces, we offer ultra-low capacitance, high-strength ESD protection arrays. Our solution ensures lossless and interference-resistant data flow between domains during high-speed transmission, safeguarding the backbone of the vehicle's electronic architecture.