
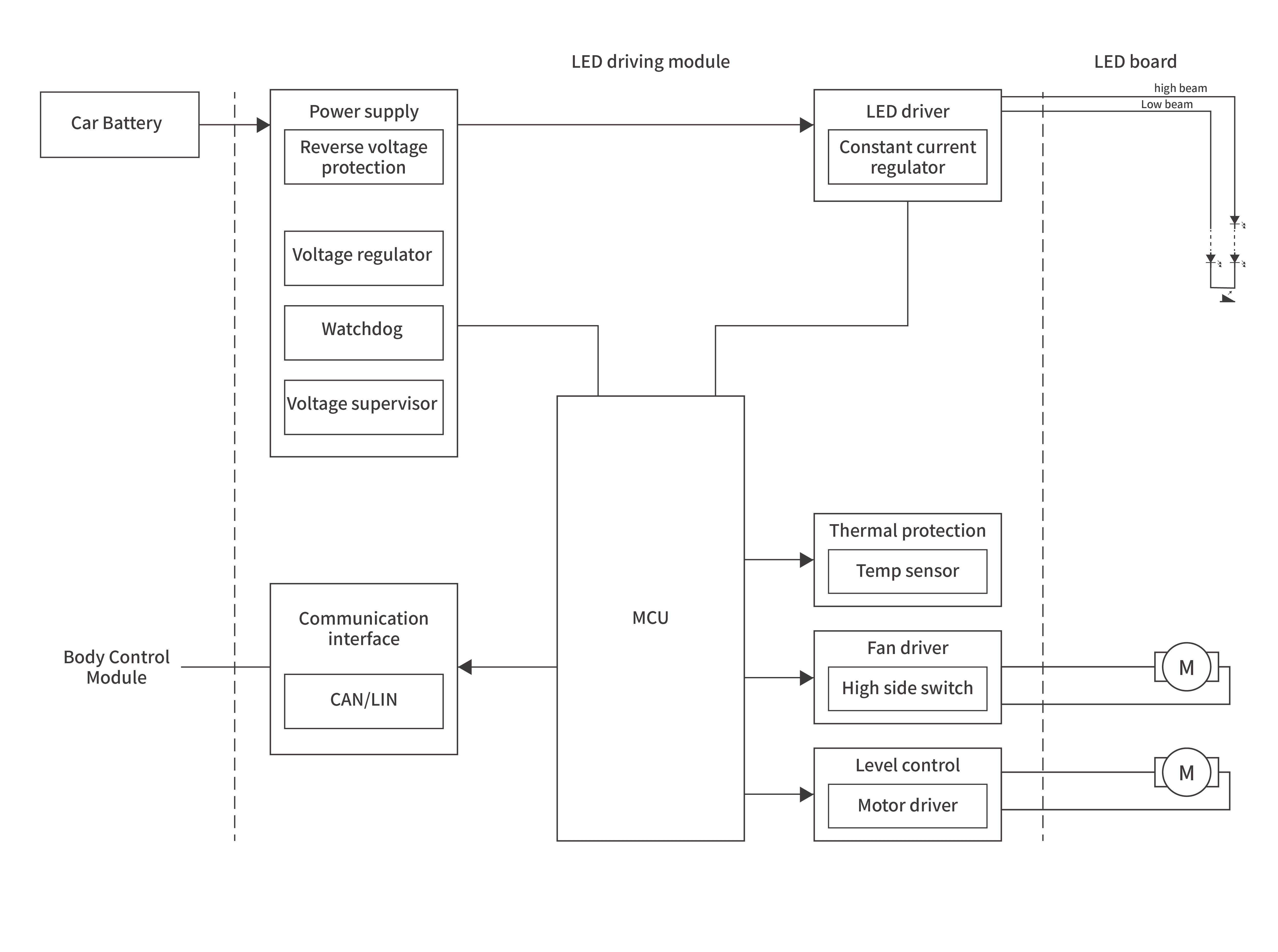
The high and low beam headlight driver module is the core of safety for nighttime driving. We provide stable overvoltage protection and constant current support to address the switching characteristics of LED driver circuits. Our solution effectively absorbs transient load fluctuations, preventing LED chip damage caused by current overshoot, and ensuring that the headlight system provides stable and bright visual illumination under various road conditions.