
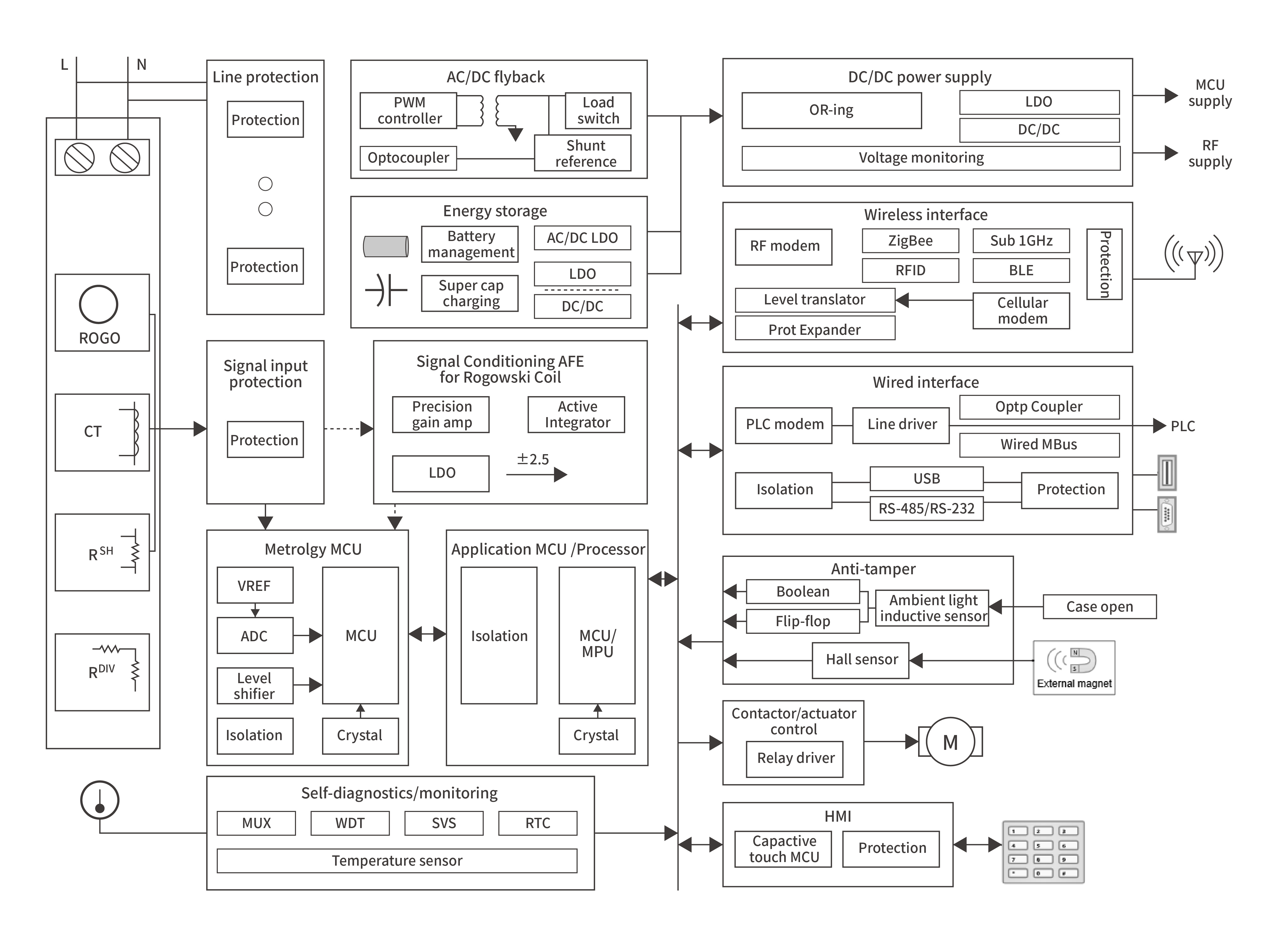
Smart meters have long faced the risks of grid fluctuations and induced lightning strikes in high-voltage environments. We provide a protection solution with excellent linearity and extremely low parasitic parameters for the high-precision metering sampling front end of the meters. Combined with high-energy surge suppression devices, this ensures that the system can still achieve accurate billing even in complex electromagnetic interference. While extending the life of the equipment, it also provides a solid guarantee for the data security and stable operation of the power Internet of Things terminal.