
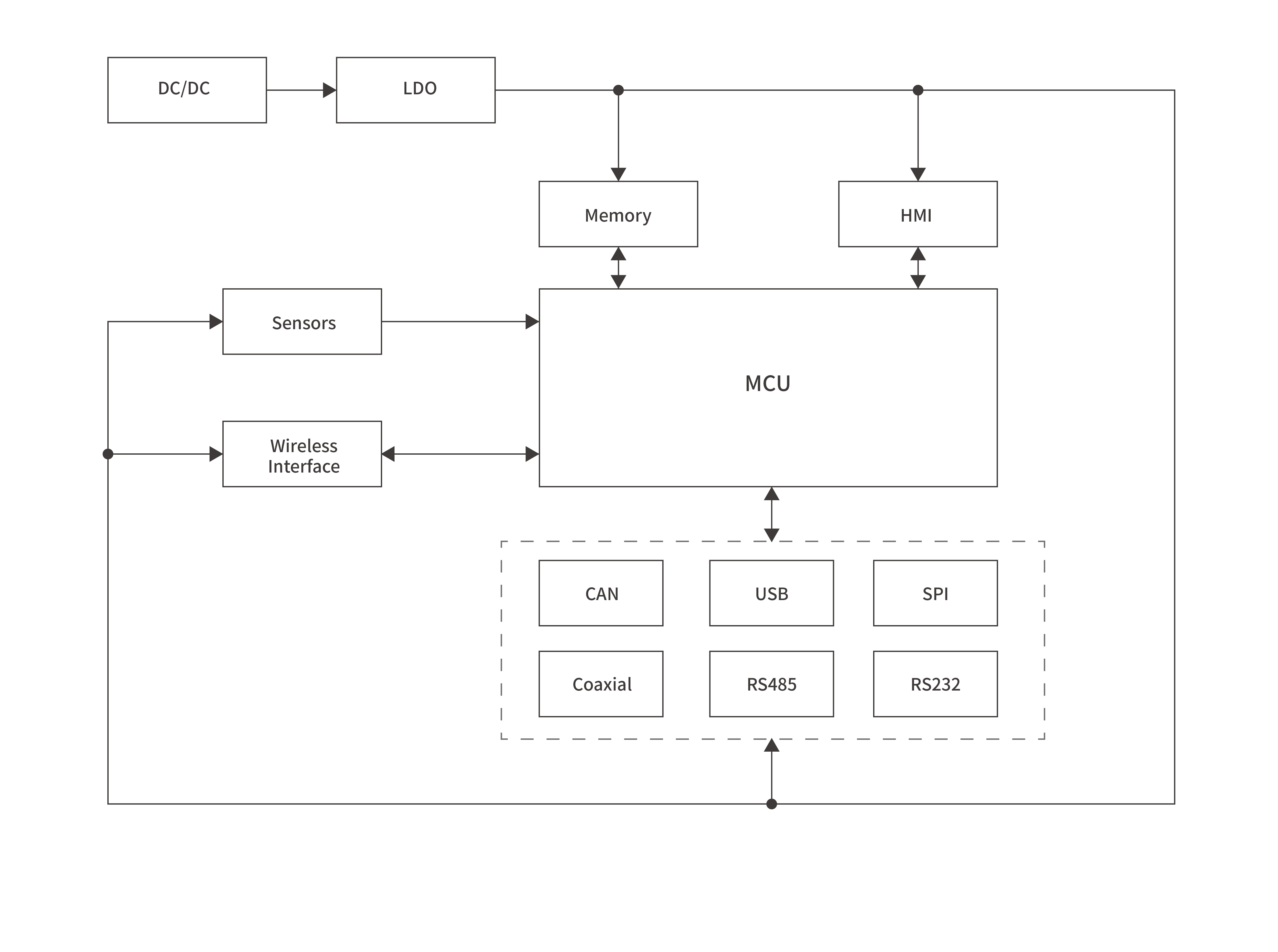
Sensors are the "sensory nerves" of automated systems, responsible for converting weak analog quantities from the physical world into precise digital signals. Because sensors are typically deployed in harsh operating environments, their front-end interfaces are highly susceptible to interference from long-distance induced lightning strikes, ground loops, and electrostatic discharge (ESD). We offer ultra-low capacitance protection arrays and precision instrument-grade signal conditioning solutions. These solutions build a high-strength electrical barrier for the analog/digital converter (ADC) front-end, ensuring that weak signals such as pressure, temperature, flow rate, or position are not distorted, preventing circuit burnout or measurement drift due to transient surges.