Global
EN
Applications
Support
Support
With over a thousand cooperative customers and 17 years of service experience, we can provide you with everything from model selection to technical support
Development
Development
Our unyielding mission is to continuously innovate and lead the industry's progress.
News & Events
News & Events
We will share every little bit of our life with you at all times
About
About
Yinte Electronics integrates technology research and development, chip manufacturing, packaging and testing, sales, and service
Careers
Careers
Unleash potential together, shape a healthy future for humanity
Applications
Focus on customer's program needs, tailor-make solutions, and help you enhance the core competitiveness of your products

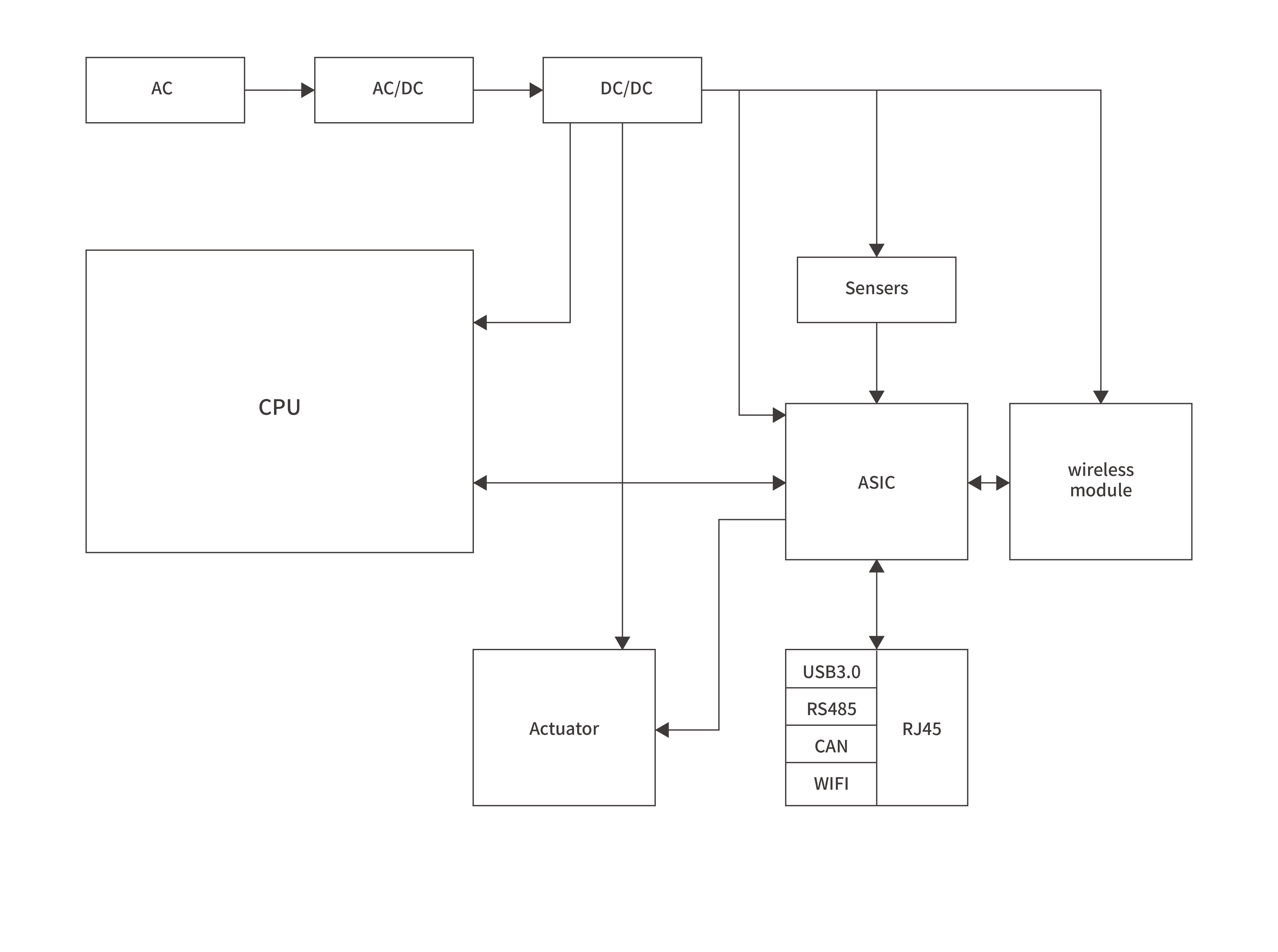
Industrial controller I/O system

I/O 系统是工业控制器与生产现场之间的物理接口,负责采集传感器信号并驱动执行机构。针对工业现场频繁出现的电感性负载切换浪涌、高压静电放电(ESD)以及因长距离布线引起的接地环路干扰,我们提供了多通道集成式保护与数字隔离/电平转换方案。这些方案在确保微秒级高速逻辑响应的同时,有效隔离了外部高压尖峰对中央处理器(CPU)的冲击,即使在强磁场或严苛的电磁骚扰环境下,也能保障模拟量与开关量数据传输的绝对准确与系统运行的长期稳定性。

Block diagram
Find products and reference designs for your system.
Industrial controller I/O systemBlock diagram

Products

Reference designs

Gdt 气体放电管 (2)

2R600L-5.5×6

-- 2R600L-5.5×6, 2-electrode GDT, 600V DC breakdown, ±20%, 5kA (8/20µs), ≤1pF.

2R600L-8×6

-- 2R600L-8×6, 2-electrode gas discharge tube, 600V DC breakdown voltage, ±20% tolerance, 10kA (8/20µs) impulse discharge current, ≤1pF, ITU-T K.12 compliant, for primary lightning protection.

Mov 压敏电阻 (2)

Gdt 气体放电管 (2)

2R090L-5.5×6

-- 2R090L-5.5×6, 2-electrode GDT, 90V DC breakdown, ±20%, 5kA (8/20µs), ≤1pF.

2R090L-8×6

-- 2R090L-8×6, 2-electrode GDT, 90V DC breakdown, ±20%, 10kA (8/20µs), ≤1pF.

Mov 压敏电阻 (1)

Tvs 瞬态抑制二极管 (2)

Common mode inductor 共模滤波电感 (1)

Esd 静电保护元件 (2)

ESDLC5V0D8B

-- DFN1006 bidirectional TVS diode rated at 5V for single data line protection

ESD0524P

-- 5V four-line ultra low capacitance TVS diode array with 0.35pF line-to-line capacitance in DFN2510-10L package for high speed data protection

Tvs 瞬态抑制二极管 (1)

Common mode inductor 共模滤波电感 (1)

Esd 静电保护元件 (1)

ESD5V0APB

-- 5V working voltage, high surge current TVS array with enhanced clamping performance for rugged interface protection

Tvs 瞬态抑制二极管 (1)

Common mode inductor 共模滤波电感 (1)

Esd 静电保护元件 (1)

ESD24VAPB

-- 24V bidirectional TVS array, VBR 25.5–29.5V, clamping 31–35V @1A / 40–50V @10A, 30–50pF, AEC-Q101

Common mode inductor 共模滤波电感 (1)

Esd 静电保护元件 (1)

NRESDTLC5V0D8B

-- DFN1006 ultra low capacitance TVS diode rated at 5V for single line ESD protection

Gdt 气体放电管 (3)

3R090L-5×7.6

-- 3R090L-5×7.6, 3-electrode GDT, 90V DC breakdown, ±20%, 5kA (8/20µs), ≤1pF.

3R090L-6×8

-- 3R090L-6×8, 3-electrode GDT, 90V DC breakdown, ±20%, 10kA (8/20µs), ≤1pF.

3R090L-8×10

-- 3R090L-8×10, 3-electrode GDT, 90V DC breakdown, ±20%, 10kA (8/20μs), ≤1pF.

Esd 静电保护元件 (1)

Other related