
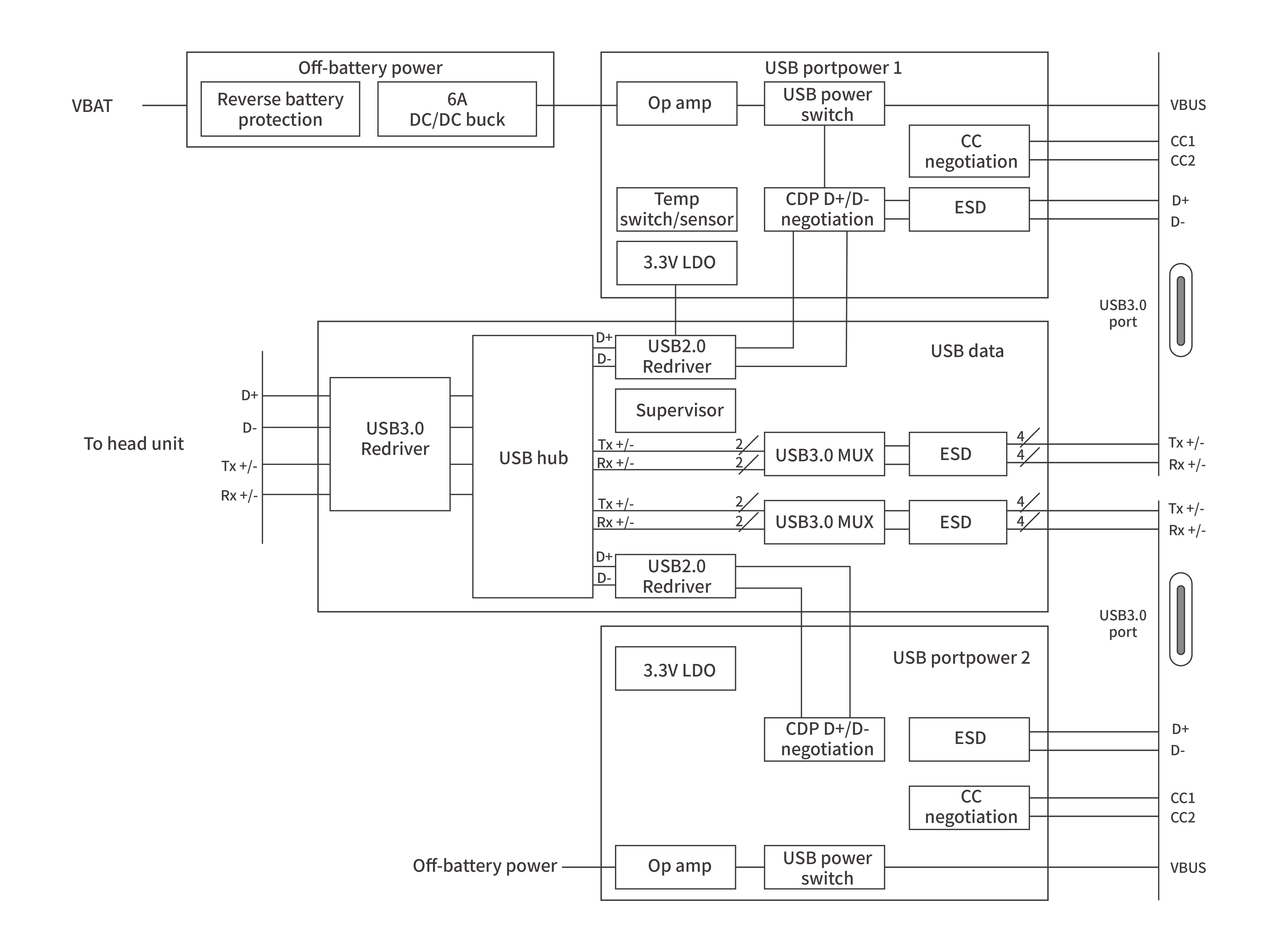
In-vehicle USB charging has evolved towards high-power fast charging. For the USB-PD protocol and Type-C interface, we provide complete overcurrent, overtemperature, and overvoltage protection solutions. Furthermore, our solutions ensure rapid power replenishment for mobile devices while rigorously protecting the in-vehicle power distribution system from damage caused by external device failures.