
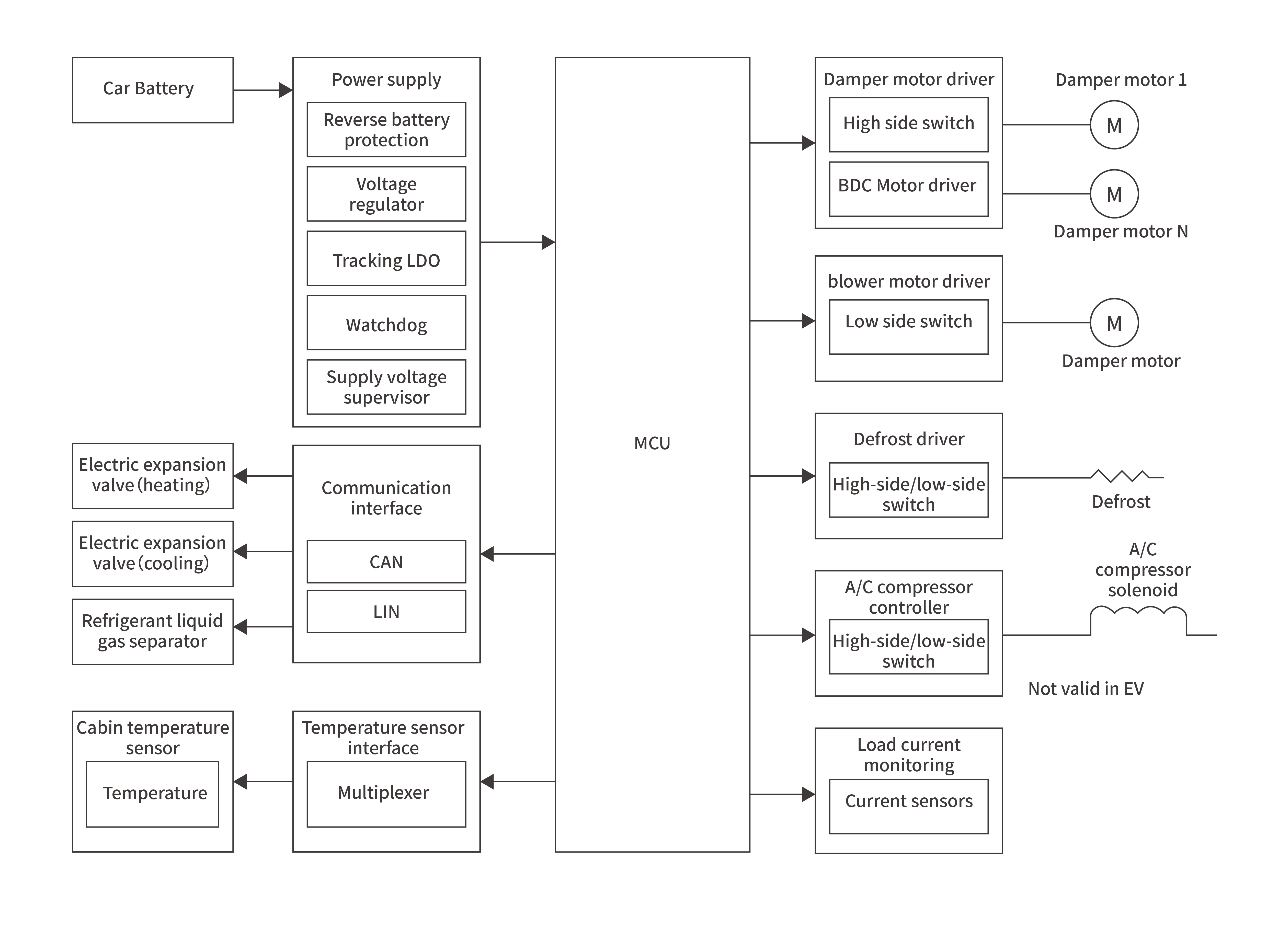
The heat pump module is the core of efficient heating and energy recovery in new energy vehicles. Addressing the high-voltage characteristics of the heat pump driver, we provide advanced surge suppression and power management support. Our automotive-grade protection solution ensures that the control circuitry is protected from electrical noise during complex thermal cycling, guaranteeing the high-efficiency conversion and long-term stability of the vehicle's thermal management system.